药房库存
药房库存信息主要存储的是当前药房所有药品的当前库存数量,通过对库存信息进行管理和调整,可快速了解和查看各个药品的批号日期以及当前药房库存数量为多少,便于及时了解厂家、批号和有效期等,进一步管理药品的有效期以及处理近期药品。
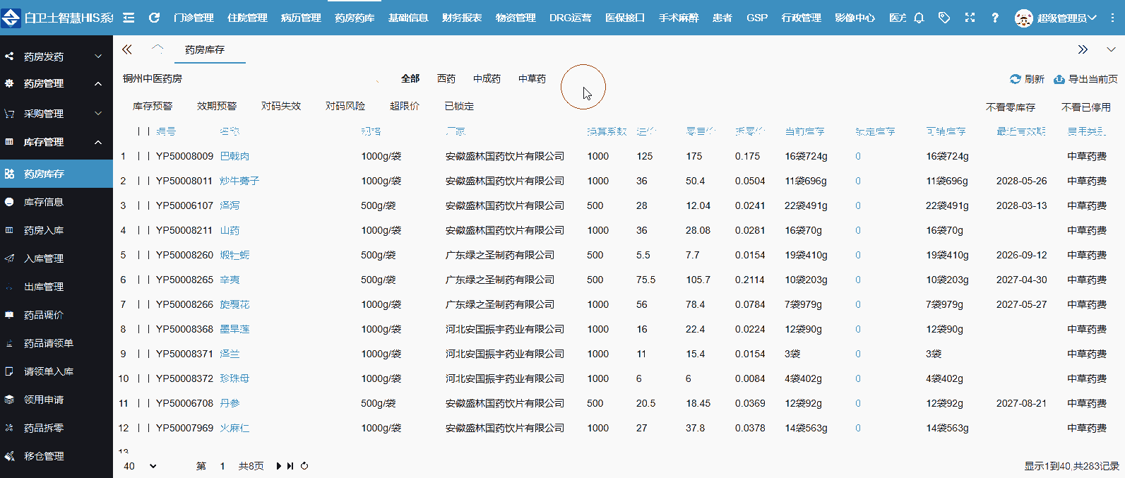
药房库存的一个主页面如上图所示,主页分为药房选择区、功能操作区、药品的明细以及包含库存信息等内容的列表表格。
药房选择区
药房选择区 的数据主要来源于 4.1.1库房设置 处的药房信息,且在药房列表中可以通过选定一个指定药房来显示相应的药品信息。

功能操作区
功能操作区主要分为主页查询功能操作,以及点击具体药品进入入库批次页功能操作两大类。
主页查询功能操作区主要承担查询与筛选功能:【药房选择区】、【药品类型】、【库存预警】以及其他一些状态快速搜索
入库批次页功能操作区包括的功能有:【盘点调整】、【批号调整】、【库存清零】、【停售】、【上架】以及查询;还有对应药品的发药明细页和进销存明细页。
入库批次页功能操作区功能设计相对复杂一些,下面我们一一进行简要分析:
【盘点调整】:盘点调整功能主要是对一个选中的药品批次进行报损(即减库存)和报益(加库存)。那什么时候报损什么时候报益呢?报损,即是系统所显示的库存数量要大于仓库实际的库存数量;报益,即是系统显示的库存数量要小于仓库实际的库存数量。
药品明细
药品明细(此处需要点击对应查看的药品名称),在弹出页中可以看到入库批次、发药明细和经销存三个页签列表。
【入库批次】:主要记录的是各个药品的入库详细信息内容,包括每个入库的批次、入库日期、数量、实际库存、可销库存等内容,以及可以在该列表中按生产批号和供应商进行快速搜索。
【发药明细】:主要记录各个药品的发药时间、数量变更信息以及发药来源类型等其他信息。
【进销存】:此处可以看到各个药品的进销存汇总以及明细内容。
盘点调整
(库存报益)
可能有小伙伴看到了上面操作中有两个示数,一个为入库情况,入库数量为60盒;一个实际库存和可销库存,库存现量是65盒。

其实这个数据是没有错的,采购入库的数量是入库了60盒,而实际库存和可销库存是指当前仓库所存在的数量是65盒(不排除仓库原来就剩有5盒 哈哈哈~),所以不用质疑,这采购入库的库存和实际、可销库存的数据是分开的,不一定是一样的。
(库存报损)
批号调整
批号调整是指仓库的实际药品批号与系统的批号数据不一致时,则将系统上的批号改成仓库药品的实际批号。(注:同一药品可能同时存在多个批号)

库存清零
使用库存清零功能可一键将当前系统药房库存选中的药品批次数量清零并自动生成损益。


停售
停售是指将药物从系统上下架,下架后系统不能再进行配销和操作。如若再需要配销和操作则需要再次上架。
库存预警、效期预警、对码失效、对码风险、超限价、已锁定、不看零库存和不看已停用
这八个功能按键都是搜索类型的功能操作按键。在左半区的前面五个:只能选择其中一个相应功能来进行对药品库存列表查询,但是可以搭配右半区的两个功能来进行组合查询(右半区的功能查询可以同时选择);不看零库存:因为库存为零的药品一般需要操作的功能不多(避免数据过多),所以在查找一个药品时可以将不包含零库存数据显示出来,这样的话就可以更方便高效的使用药品相关功能操作;不看已停用:在药品库存列表中过滤排除掉已停用的药品信息。

快速搜索
关于搜索功能,基本每一个管理项都有讲,而每一个搜索功能中都包含着多种搜索功能,此处管理项下的搜索功能包含:药品编码、名称和条码(这个条码后期是可以通过使用扫码枪等进行扫码识别)等信息进行搜索,保证信息可以快速地被搜索出来。
导出当前页
导出当前页功能意指是将系统上的当前页面的数据导出下载到本地电脑上,这样方便数据文件可以线下进一步操作和修改(当然线下进行的修改与系统没有任何关系)。